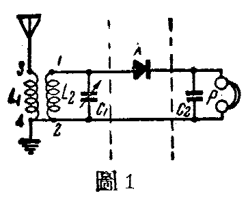
要把矿石机装得更响,必须多了解些具体的装置方法。我们可用一个最普通的矿石机回路图1来进行讨论。首先要注意到三个主要组成部分,就是:

1.天地线回路和谐振回路(包括天地线、L\(_{1}\)、L2和C\(_{1}\));
2.矿石;
3.耳机。
下面我们就按上列次序分别分析。
谐振回路
天地线和谐振回路 是信号进入收音机的大门,要声音响,这部分的关系颇为重要。天线最好用编织线也就是多股绞合线来做成,这样可以减少高频电流的损失。利用废漆包线十到二十根绞在一起做成的绞合线也很合用。
天线两端和引入线最好用高频绝料瓷料和木杆、墙壁等隔绝如图2。否则,高频电流顺着墙壁或木杆入地,增加损失。甚至用装电灯的瓷隔板、贝壳或钮扣等隔开图3,也比不用好得多。


天线悬在高空,接触着电磁波便产生高频电压。一般是愈高愈好,不过用上10-20公尺高的天线也就很好。还有一种简单的室内天线,不要在高空拉很长的导线,而利用现成的电灯线充天线。方法是在电灯线上包一层贴了锡纸的牛皮纸,用包香烟的锡纸即可,长约半公尺,没有贴锡纸的那一面挨着电灯线。在锡纸上再绕几十圈漆包线图4,就可以引出来当天线。但这样装法比较危险,声音虽很响,但因有些灯线旧了,漏电或绝缘皮破了里面铜丝露出就容易发生触电的危险用时应当特别注意。

矿石机在多雷雨的季节使用时,要注意安全,天线的入室处最好加用单刀双向开关图5,搬上为正常收听,不听时搬下可以使天线直接接地,雷电不致伤人或机器,地线必需用相当粗的线,在农村更要注意。

天地线装妥后,就可以进行第二步工作——绕线圈。
用3.2公分直径的马粪纸圆筒(或利用废手电筒干电池纸壳)在上面密绕30圈直径0.0203公分的线做成L\(_{1}\),同样绕80——90圈做成L2。L\(_{1}\)和L2可以按图1和图6标明的数字对照联接。

为了可以收听较多的电台,L\(_{2}\)线圈必需大小适当。例如当地有700千周和800千周两个电台,当收听800千周的电台时,调整电容器C1已经成了图7甲的形状,(即全部转入的位置)那么700千周的电台就会收不到,这说明L2圈数太少;相反地,收听700千周电台时,C\(_{1}\)巳经成了图7乙的形状,(即全部转出的位置),表示L2圈数太多。这样校验改正后,可以收听更多的电台。

有时和L\(_{1}\)串联一10-30微微法的电容器,可以调整天线的配谐,反复调整这一电容器和C1,便能增加灵敏度。但为了获得最大灵敏度,L\(_{1}\)和L2需调整到最好的耦合。比较简单的办法,可将上述图6的线圈依虚线切开。将这两部分同时套在一较长的纸筒上,移动两线圈间的距离,到声音最响,就是达到了最好的耦合度。
收听信号较弱的电台时,用图1的回路往往不能避免邻近较强电台的干扰。为了加强选择性好把每个电台分开起见,可采用图8的双调谐周路。L\(_{2}\)、L2'为圈数相同的两只线圈;C\(_{1}\)、C1'为电容量相等的同轴电容器。L\(_{2}\)'C1'和L\(_{2}\)C1同时对外来频率谐振。先经L\(_{2}\)C1的选择,再耦合到L\(_{2}\)'C1'。经过这两次选择,邻近电台的干扰就可避免。L\(_{2}\)和L2'的圈数,应当相等,即使相差半圈,灵敏度也会大减,同样 C\(_{1}\)和 C1'也要相等这就是两调谐回路同轴调整的缺点,但同轴调整的办法一经校准后,使用上却比较分开调整简单得多。

矿石
矿石 是整个收音机的心脏,天地线和谐振回路好了而矿石不好,结果也不会好。矿石的种类很多,有方铅矿、红锌矿、自然铜等都可用。
中药店买来的自然铜是很大一整块,要打碎成1-1.5立方公厘的小粒,才能装进矿石盒里去用。装时不要用手指去拿,最好用夹子夹,因为手上的油往往弄脏新的矿石表面,造成导电不良收听很差的效果。
一般使用的矿石盒有固定式和活动式两种图9,各有利弊。固定式一经装妥后,不易变动,但效率不佳,调节麻烦,不易得到灵敏度最高的接触点。活动式矿石的优点,在便于调整,可以调到灵敏度最佳的地方。

为了增加灵敏度,还可以改变矿石的接法。图1的回路是半波检波,天线吸收进来的调幅信号和检波后的信号形状可分别用图10甲和乙表示。由于矿石的非直线性特性,外来信号的负半周不能够通过矿石。而图10乙里的t\(_{1}\)时段内,正当外来信号感应到L2上端为正电位时,矿石等于短路,成为图11甲的形式,这时电流能顺利地流到耳机内。而在t\(_{2}\)的时段里,外来信号感应至L2上端为负,矿石等于断路,就没有电流流入耳机。所以有一半时间电流流不到耳机去,原来调幅信号电能的一半就牺牲了。要利用这部分电能,可接成如图12的全波栓波回路,用两块矿石。栓波后的波形如图13。这样比半波检波效率大为提高。实际使用这种全波回路时,还须注意下列事项:





i不能把矿石装反成图14的形式。因矿石自成回路或断路,都会听不到声音的。必须将矿石导电性能相同的装在同一方向。
ii两块中有一块直通或反向电阻小,也会形成矿石将耳机短路的现象。假使一块矿石不通时尚可以听到声音,不过效果要差些。
为了证明两块矿石都是好的,可以调谐至某一电台,分别将两块矿石一块一块放上去试,先后都听到了声音就说明都是好的。再同时装上,若反而听不见声音,把其中一块反向再试一定会好。
iiiL\(_{2}\)和L2'、C\(_{1}\)和C1'的数值要相同。相差太远会调谐到两个不同频率,发生干扰,并使效率降低。
耳机
耳机 是发出声音的部分(C\(_{2}\)是高频傍路电容器),它的灵敏度可以决定声音的大小。
耳机的灵敏度和线圈电阻的欧数有关。这并不是说耳机电阻愈大愈好;不过电阻愈大,一般线圈数也愈多,通过同样电流时的吸力也愈大,耳机就灵敏。自然线圈电阻的增加并不是没有限制的,耳机的体积有限,圈数已经受到限制;同时电阻增大后电流变小,耳机的吸力也不会大。到底什么时候耳机最灵敏呢?我们说:电源内阻和负荷阻抗数值相配合时,灵敏度最好,也就是耳机的电阻必须和包括天线谐调回路在内的综合阻抗相等时,声音才最响。一般电话机里的耳机电阻只有几十欧,用在话机里声音虽很响,但用在矿石机里声音就不大响了,这是因为矿石有几千欧电阻,和电话机里的耳机阻抗不配合,所以不响。相反地,矿石机用的耳机改用在话机上,也不够响。一般矿石机用的耳机,线圈电阻每只约2000欧比较合适。
耳机的灵敏度,还要看永久磁石的磁性强弱而定。选择耳机时,应特别注意。可以用耳机上的振动膜片在磁石上试一试,看能否吸得牢。磁性不强,收音的效果是不会好的。
耳机里声音小,有时并非由于上述原因所造成,膜片被磁石吸死,不能振动的情形也有。这是因为膜片和磁石距离得太近了。可以在膜片下垫一层薄纸圈,使磁石和膜片间保持一个空隙,膜片能自由振动。用手指压膜片时,膜片应弯曲,压力除去有“噗”的一声,膜片同时回到原来位置,就证明膜片没有吸死。怎样把矿石机装得更响
此外,装矿石机零件应尽量紧凑,接线都要焊接,愈短愈好,不要弯曲打圈,这样可以提高效率。 (潘祺寿)