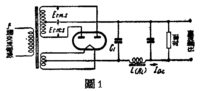
问:用不同高压和不同整流管怎样求得整流后的直流电压大小(附图1)?不管全波、半波都是一样吗?——锦州 陈海唐
答:整流管电压降不计时,半波整流后的直流电压(平均值)等于变压器次级电压(有数值)的0.45倍。全波整流后的直流电压(平均值)等于变压器次级全部电压(有效值)一半的0.9倍(见图2、3)。整流后的“直流”还全脉动电流,含有交流成分,须在整流器和负荷之间,加上滤波器,把交流成分滤去。图1是有滤波器(电容器输入式)的全波整流器,它的直流输出电压EDC的近似值,可按下式计算。
EDC≈\(\sqrt{2}\)E\(_{r}\).m.s.-[IDC(\(\frac{1}{4fC1}\)+R\(_{L}\))+Er].


E\(_{r}\).m.s.为变压器次级线圈的有效值,IDC为直流输出电流,单位为安,f为交流电源的频率,单位为周,C1为输入滤波电容器,单位为法,R\(_{L}\)为扼流圈的阻力,单位为欧,Er为整流管的电压降,单位为伏。但汞气整流管电压降E\(_{r}\)很小,可以不计。
