光学显微镜,由于照明标本的可见光线的波长不够短的关系,鉴别力有一定的限度。最好的光学显微镜仅能分辨出相距5万分之一公厘左右的小点子,有效放大倍数只有一千多倍。要想分辨更细微的东西,光学显微镜就无能为力。科学家们发现在高电压加速下的电子(例如阴极射线管里的电子)具有波动性质。而且波长比可见光线短,这种电子束又容易焦聚。因此便发明了利用电子束和电子透镜的新式显微镜——电子显微镜。这是电子学的巨大胜利,和这伴随的是物理学上一个崭新部门——电子光学的成熟。

电子显微镜的构造原理和光学显微镜的很相似。图1а是一个光学显微镜的示意图。由光源发出的光线,经聚光透镜会聚,照射在标本上。光线穿过标本时,按照标本各不同部分,发生不同的变化。发生变化的光线,经过接物透镜,放大成“中间像”,再经投影透镜放大,投射在影幕上,造成人眼可以看见的“终端像”
图1б是一个电子显微镜的示意图。由电子源“电子枪”发出的电子束,经电子聚光透镜会聚后,照射在标本上。电子束穿过标本时,也按照标本各部分性质的不同发生变化。发生变化的电子束经由第二个电子透镜(相当于接物透镜)放大为“中间电子物像”,又经第三个电子透镜(相当于投影透镜)放大,投射在荧光板上,使荧光板按照电子的分布情况发出明暗不同的光亮,成为人眼可以看见的“终端电子物像”。
电子显微镜主要由①电子一光学镜筒②电源设备和③真空系统三部分构成。现在分别简单说明于下:
电子—光学镜筒,由电子枪、荧光板和电子透镜等部分组成。前二者和普通阴权射线管里用的相似,不多说明,这里仅简单谈谈电子透镜。
光线从一种介质进入另一种较疏或较密的介质时,就由界面的入射点起,更改前进方向。根据这种现象做成的光学球面透镜可以会聚光线,并能把焦点以外二倍焦距以内的物体放大。同样直线运动着的电子,从一定方向通过电场或磁场时,受到场的力的作用,行进方向也会改变。根据这种现象适当安排的电场或磁场,叫做电子透镜,能把从一点发出的电子会聚到另一点,并得到物体的放大像。
下面我们简单谈谈利用磁场的电子透镜——又叫做“磁透镜”。

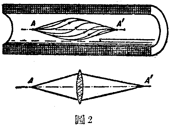
在均匀磁场内,许多初速不同的电子由A点出发,旋转一周后都会到达A′点(图2)。
换句话说:均匀磁场能使由一点发出的电子会聚在另一点。A是电子源,A′就是它的像。这种作用和凸透镜对光线的作用一样。

上述的均匀磁场是由长线圈里通电流后产生的,虽然能使点电子源会聚成像,但没有放大能力。要想有放大能力,须得使用圈数够多的短线圈,使磁场集中在一个不大的空间(图3)。这就叫做短磁透镜。由电子源发出的电子束进入短磁透镜的磁场时,自然也会旋转,不过离轴线(图8上00′线)越远,受到的向轴作用力越大,这样旋转的结果,使“电子像”距虽透镜的光轴,比电子源距离光轴远,所以有了放大作用,这和光透镜的放大原理也是相同的。
如用强磁性金属把线圈围住,只在线圈内部留一个空隙(图4),空隙处可得到很强而且集中的磁场。这样的透镜,叫做装甲透镜,放大能力显著提高。如果更进一步,在装甲透镜的空隙处,装上间隙和孔径都很小的磁极靴(图5),磁场就更强而集中,放大能力也就更大。使用装极靴的磁透镜,可以做成鉴别力极高的电子显微镜。
电子显微镜的电源设备用来供应电子枪、透镜和附属设备的用电。电子枪的阳极电压,一般为5—10万伏。电子枪的灯丝加热,可用直流或低频交流,但最好是用高频电流(100—200千周)来烧热灯丝,可以得到极为稳定的电子束。灯丝耗电功率约为5—6瓦。磁力透镜的励磁电流一般由50周低频电流整流而得,电压约几百伏,电流约几百毫安,安培因数约为1000—2000安培圈。
电压和电流应该有高度的稳定性。电子枪的阳极电压不稳定时,电子的速度和电子束的波长会时时改变。透镜的励磁电流不稳定时,透镜的磁场强度也会变动。这些都直接影响电子显微镜的鉴别力。电子显微镜的电源设备里,通常都装着磁谐振式稳定器、电子管稳压器和电子管稳流器,使电源达到高度稳定。
使用电子显微镜时,电子—光学镜筒必须抽成真空,使电子束可以顺利前进。工作真空一般为10\(^{-4}\)水银柱公厘。抽真空的设备常以旋转式油泵和扩散泵联合使用。测量真空程度,多用热电偶真空计和电离真空计。

电子显微镜按照观察标本的方法可以分成透射式、反射式等几种。透射式电子显微镜是现代最完善的应用范围最广的一种。它的主要特点是电子束穿透标本成像。电子束穿过标本时,和标本内部的原子撞击,发生散射现象。标本厚的地方或物质密实的地方,散射强烈;标本薄的地方或物质稀疏的地方,散射较弱。离开标本不远的地方装一个有孔的隔片——光闸。光闸把散射开的角度大的电子吸收,只让角度小的电子穿过去。因此,标本厚的地方或者物质密实的地方,穿过光闸的电子较少,荧光板上发出较暗的光亮;标本薄的地方或者物质稀疏的地方,穿过光闸的电子较多,荧光板上发以较明的光亮。因此荧光板上显出明暗对比的物像。光闸是使透射式电子显微镜成像的重要部分。如果没有光闸把散射角度大的电子吸收,从标本某一点发出的那些电子,虽然它们散射方向不同,在通过磁力透镜后却又旋转着集中在同一对应点。结果,尽管电子通过标本时,在标本各点上发生不同程度的散射,散射开来的电子却又重新集拢在物像的各对应点,各点发生同样的亮度,因而不能造成明暗对比的物像。图6表示电子通过标本的散射情形和光闸对于大角度的电子的吸收作用。
反射式电子显微镜,是利用电子从标本表面反射而成像的,主要用于金属研究方面。
电子枪的阳极电压为6万伏时,电子束的波长只有一百万万分之五公厘,约比可见光线的波长短10\(^{5}\)倍。单从波长着眼根据绕射理论分析起来,电子显微镜似乎能看到比原子还小的东西。但实际上却不能。上等的透射式电子显微镜的鉴别力只比光学显微镜好102倍。原因是光学透镜的制造技术已经很好,它的鉴别力主要受绕射蚬象限制,而电子透镜,像差还很大(主要是球面像差),它的鉴别力必须由绕射和像差二者决定。除此原因外,透镜的磁场或电场的不对称(对光轴说),局外的磁场或电场对于电子束的影响、透镜电流和阳极电压的不稳定、以及机械振动等,都影响到电子显微镜的鉴别力。

苏联经济和文化建设成就展览会中展出的уэм-100型万能电子显微镜,是电子光学胜利的一个标帜,也说明了苏联技术科学的惊人成就。уэм-100型电子显微镜为苏联A.A.李别德夫设计。这种显微镜可以作透射式和反射式观察,可以用电子绕射的方法来研究标本的结晶构造,此外,还可以给标本拍照普通像片和立体“像对”。因为可以做多种多样外研究,所以叫做万能式。它最大的放大倍数是4万倍,鉴别距离是50埃。最高阳极电压是10万伏,最大阳极电流是50微安。уэм-100是磁力透镜式电子显微镜,镜筒是垂直的,有两级放大。图7是它的镜筒的剖面图。图7中,1是电子枪,2是聚光透镜,3是装换标本的机械,4是标本。5是接物透镜,6是投影透镜,7是荧光板,8是照相机,聚光透镜是装甲而没有极靴的磁力透镜,接物透镜和投影透镜都是装甲并有极靴的磁力透镜。投影透镜的镜筒上有三个圆窗,用以观察荧光板上的终端像。装换标本的机械有两个闸门和一个闸室,利用这个机械,取出标本时,不致影响镜筒的真空,装入标本时,只需一两分钟就可以把因装标本所带进去的空气抽净。

图8是уэм-100的电源系统方框图。电子枪的高压,用50周的低频电流经变压器升压和二极管倍压整流而得,全部整流设备,包括滤波器,都浸在一个充满变压器油的密封金属槽里。灯丝加热用100千赫高频电流,由一个电子管振荡器供给。交流一次电路中装着磁谐振稳定器,透镜励磁的直流电路中装着电子管稳压器和稳流器。这些稳定器使高压部分在0.5一1分钟时间内的稳定性达到≤0.02%,接物透镜、聚光透镜和投影透镜的励磁电流的稳定性,各达到≤0.005%、≤0.05%和0.01%。

уэм-100型电子显微镜的外貌如图9。该图中а是显微镜的本体。前置真空泵,电源方面所用的磁谐振式稳定器和产生十万伏直流电压的高压设备,尚没有表现出来。
显微镜的本体中,1是保护罩;2是电子枪;3是聚光透镜;4是接物透镜组;5是投影透镜组;6是观看终端像的窗口;7是照像机;8是控制台,上面装着全部电气操纵设备;9是高压电流表;10是透镜等低压电流表;11是电离式真空计电流表;12这里面装着油扩散真空泵;13里面装着透镜的电源设备。
电子显微技术的历史还只有二十几年,表现的成绩却已很惊人。在生物学方面,最重要的是真实的看到了各种滤过性病毒和食菌体,靠着电子显微镜可以精确的量出各种微生物的尺寸,可以了解它们的生长、繁殖、和药剂对它们的作用。在有机化学方面可以看见各种有机物质,如血红素等的巨型分子。金相学方面可利用来研究各种金属或合金的构造和结晶从而改进金属的品质。其他,在各种纤维、皮革、擦胶、陶瓷、玻璃、江漆、可塑体等科学技术研究方面,都普遍应用了电子显微镜。但是可以肯定说,电子显微镜的最伟大的成就还有待未来。(邮电部设计局工程师 李昌猷)

