Ⅰ.本收音机的介绍:
这种收音机,在我国购买使用的不少,可以收听长(1000—2000公尺)、中(187—571公尺)和短波(16.0—51.0公尺),适用于交直流电源,全机共有两个高频和四个中频谐振回路,短波段有波段展开调整。有自动音量控制器、锁式电子管和久磁动圈式喇叭。优点在于灵敏度高、音质好、轻便美观,使用方便。可以同做轴音质和音量调整,还可以加接喇叭或唱片放大。
主要的特性为:许可通过的频带宽度12千周,输出2瓦(220伏电源时)或0.75瓦(120伏电源时)。失真不超过10%,所需输入信号电压平均约40微伏。喇叭的音圈额定阻抗为5欧。消耗电力为52瓦(220伏电源时)或35瓦(120伏电源时)两只指示灯,每只是7伏0.3安。所用电子管程式为:
① UCH 21…………混波和振荡
② UCH 21…………中周和低放
③ UBL 21…………检波和强放
④ UY IN…………半波整流

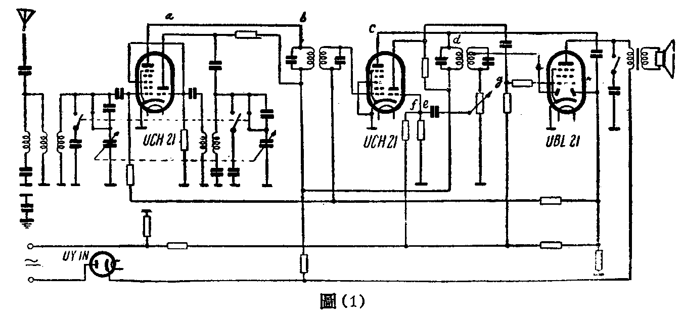
它的回路图(除灯丝电源部分外)如图(1)。

灯丝回路接220伏电源时如图(2)甲,接110伏电源时如图(2)乙。
Ⅱ.一次修理经验:
有人大意将这部收音机开了一天一夜没有关,便不响了。第一次检验,发现指示灯特别亮,UYIN管内打火花,约半分钟火花没有了,但指示灯更亮,眼看就会烧坏,因此就断开电源,拨下UYIN管来分析。用欧姆表来量阴极和丝极不通也没有漏电现象,觉得很怪;再用手轻敲管外,发现阴丝极间有时短路有时断路,在阴丝极不通的情况下插到机内再试,现象照常;乘灯丝还热的时候取下一量,阴丝极又通了,到冷下来又不通了。因此断定UYIN管必须换过,查出UYIN 的特性如下:
灯丝电压(伏) 灯丝电流(安) 最高屏压(伏) 最大屏流(安)
50 0.1 250 0.14
因购买条件的关系,于是决定用35Z5管来代替,屏极电压和电流没有问题,但灯丝电流是0.15安,灯线电压是35伏,原来的灯丝回路必须改换。各电子管灯丝是相互串联的,电流如不相等,应以最大0.15安为准,和0.1安的灯丝应并联一只流0.05安的傍路电阻;代用后灯丝电压相差15伏,应加一串联电阻。简单计算一下得出:
并联电阻:55+20+200.05=1900欧; 95×0.05=4.75瓦。
应购2000欧/10瓦的电阻。
串联电阻:220-7-7-95-350.15=76;0.15=500欧。
76×0.15=11.4瓦。
应购500欧/15瓦的电阻。
原来的三个串联电阻,因是额定通0.1安电流的,现在通0.15安,怕它发热烧断,只好不用。
换好了整流管和电阻,原想一切可以正常了,接电源一试,还是没有电台声音,只听见喇叭里微微嗡嗡的响。仔细地看,有一个UCH21管灯丝不亮了。为什么各管的灯丝串联,会只有一个管的灯丝不亮呢?觉得很怪。将两个UCH21管对换位置,还是那一个不亮的不亮。量灯丝电压,在亮的UCH21管脚上有22伏,在不亮的UCH21管上只有3伏,这灯丝是已经部分在内部短路了。因此这个不亮的UCH21管又非换不可。
又因为购买条件的关系,打算少用一个UCH21管维持继续收听,办法是这样的:①把原来的两只350欧电阻并联后串接到灯丝电路里,②由图(1)将ab、cd和ef三线段断开,由a点接一线到d,由e点接一线到g。
这样的连接法,等于少了一级中放和一级音周放大,估计增益小了1000倍左右,接好一试,接上二公尺长的天线果然收本市音量还相当大。
这不算什么好的修理方法,只不过是一点临机应变的“小办法”罢了。要全部修复,还得设法找UCH21的代用管。(林葆浏 周承联 沈肇熙)