我国中小城市的机关、部队和居民使用交直流两用式收音机相当多,这种收音机很容易损坏。它在制造上省去了一个价钱比较昂贵的电源变压器。用户一般不太了解它的特点,因为可以交直流两用觉得便利,价钱也较低,乐于购买,实际使用起来,却比较容易损坏。下面介绍一下它的特点,和使用时特别要注意的事项。
关于电源回路的特点
和交流收音机比起来交直流两用收音机的主要特点,是在电源部分。电源部分包括灯丝电源和高压电源。我们先看灯丝电源回路:
(1)电子管的灯丝电压和电流,交直流收音机没有电源变压器,各个电子管的灯丝是串联的,灯丝电压用不着彼此相等,而灯丝电流必须相同。一般设计所有灯丝串联起来所需的总电压约110伏,可以直接接到110伏的电源上,如图1所示。

这种收音机可以用6.3伏或12.6伏的电子管,但强放管和整流管都是特制的,如25A6,25L6,35L6,50L6,50C5及25Z5,25Z6,35Z5,35W4 UYIN等,它们的灯丝电压很高,目的就是为了配合电源电压。
(2)电子管灯丝的联接次序,因电子管灯丝可直接接到两线的交流电源,其中有一根是火线,另一根是地线,灯丝靠近地线端的电子管交流声比较小,所以不能随便将灯丝串联起来应用,一般的次序是第二检波管(包括第一低放兼自动音量控制)紧靠近地线,再按变频、中放(也有先中放后变频)强放、整流的次序联接。例如图2甲是花生管电路的连接,其中12AV6为第二检波(第一低放兼AVC),12BE6变频,12BA6中放,50C5强放,35W4整流。图2乙是12.6V式电子管的连接法,其中12SQ7为第二检波(第一低放兼AVC)12SA7变频,12SK7中放,50L6强放,35Z5整流。图2丙是锁式电子管的连接次序,其中14B6为第二检波(第一低放兼AVC),14Q7为变频,14A7为中放,50A5强放,35Y4整流。

图3是加有高放级的排例法,其中12SK7①为高放,12SK7②为中放。

接交流电源时将火线和地线接反,交流声较大,应换一下电源插头的插法。
(3)一般不能直接到220伏交直流电源,一般按电源电压110伏设计的收音机,如果直接插入220伏交流或直流电源,一定烧坏电子管。用220伏交流电源,须配一个220/110伏降压变压器,或也可以串联适当的降压电阻。不过在降压电阻上,要消耗一半电力,很不经济。
(4)电源线可能直接接到底板,老式的交直流收音机,电源线一根是直接接到底板的,如果这是一根火线,开机时碰着机壳,就会触电,所以新式设计已将电源的一根进线直接接到乙负端而不接底板。除了可变电容器外,所有原来接通底板的零件现在都改接在乙负上。
(5)高压供电的特点:
(甲)屏压较低——因为没有电源变压器,电压不能升高,所以电子管的屏压和帘栅压最高不超出110伏,限制了收音效率,比不上交流收音机好。
(乙)使用直流电源时,必须正接。交直流收音机上标明有正负极,是为了将整流管屏极接电源的正端,如果接反了,灯丝和指示灯虽通电流,但收音机不能工作。

(丙)强放管屏压的供给——有些交直流收音机电源滤波部分是用扼流圈的,这是较好的一种。但更多的是用滤波电阻,同时降低了一部分高压,如果强放管的屏压取在滤波电阻之后;收音机的输出音量必小,所以通常是将强放管的屏压接在滤波电阻之前,如图4。因为强放管是最末级,交流电压的影响比较小。这样接法除了强放管屏压校高外,其屏流也不流过降压电阻。使前几级电子管的屏压和帘栅压也比较高。
(6)其它
(甲)强放管的屏极负荷电阻较小——交流收音机强放管的屏极负荷电阻较大,一般在4000至8000欧左右,而交直流收音机用的强放管屏极负荷电阻多在2000至5000欧左右,例如交流收音机里的输出管6V6屏极负荷电阻是5000欧,而交直流收音机里输出管50L6的屏极负荷电阻只2000欧,所需输出变压器的初级圈数较少,而直流电阻数值也较小。
(乙)不用地线——交直流收音机最好不用地线,一方面因为电源线中已经向一根是地线,如果插得正确,就等于接了地线;另一方面是底板上接了一根地线危险很大,因为有些交直流收音机的电源进线有一根是直接接到底板的,如果这一根是火线,而我们再联一根地线到底板上去,结果就造成了短路,如图5。假若我们的保安熔丝不好。还很容易引起火灾或损坏电表。

(7)常发生的故障
(甲)灯丝烧断——因为灯丝都是串联的,一个烧断,全部灯丝不亮,经常烧断灯丝的以强放管和整流管占多数,如50L6,35Z5等,最好在全机灯丝回路里再串联一个10瓦50欧电阻,电子管工作效率稍低一些,但是寿命可以延长。
(乙)插错电源——交直流收音机直接插入220伏交流电源,会将全套或部分电子管烧去,机器的零件如滤波电容器等也受到一定的损伤。当市电是交流220伏时,一定要配上一个降压变压器,或适当的降压电阻线。若用220伏直流电源,只能用降压电阻;若用变压器,变压器和电子管都会烧坏。

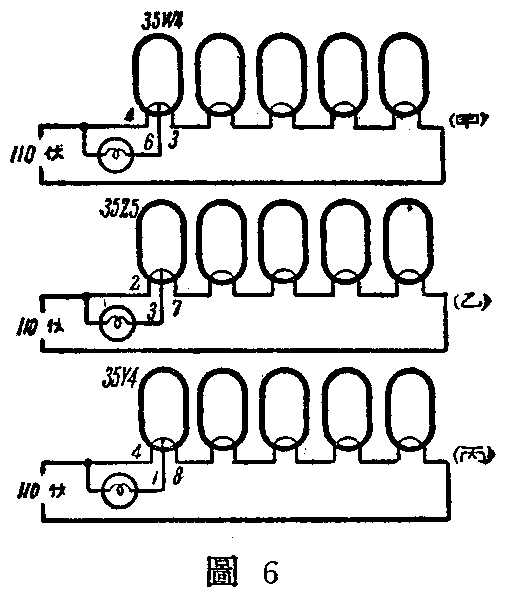
(丙)指示灯损坏的影响——因为一般交直流收音机中的指示灯是并联在部分整流管灯丝上的,指示灯坏了,还可以收音,但由图6可见,这时整流管灯丝一段里的电流增加,会影响整流管的寿命,应该立刻停止收音,换上好整流器后再用。(黄英豪)