巧改磐英主板的CPU电压
在网上、报刊杂志上看到大家争先恐后的一个劲玩“超频”,这个说把赛扬300A超到4××,甚至到5××,那个又说把K6-2 266超到3××,我也忍不住心痒兼手痒了。想想自己那片K6 233(超250MHz)也用了近一年,而且K6-2的价格也已降到可接受的水平,看来是抛弃旧爱另结新欢,变一变“心”(芯)的时候了。趁假日到电脑城一家铺子里弄了颗K6-2 300,外频是66MHz的,编号9846,左、右下角的编号分别是金字的26351和N,右上角的300有涂抹过的痕迹,很可能是K6-2 266经REMARK的。不过对我而言,是不是REMARK都没关系,关键是超频性能。在店里大致试了试,嗯,超到350MHz(100×3.5)、400MHz(100×4)都能开机自检,超到450MHz(100×4.5)黑屏。原本就不期望它能超到450MHz,看来还可以,一手交钱一手交货后,就兴冲冲地赶回家做烤机实验了。
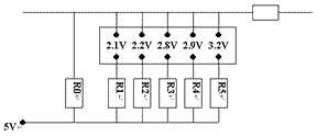
我的主板是磐英的EP-58MVP3C-M,支持100M外频,CPU核心电压有五档:3.2V、2.9V、2.8V、2.2V、2.1V,首先测试350MHz(100×3.5,电压2.2V),很好!进DOS没问题,进WIN95也通过了。随后运行3Dmark99、《原罪》、《极品飞车3》等非常稳定。我当然没有因此而满足,于是把频率上调到400MHz(100×4,电压2.2V),结果是开机能自检,但一进DOS,装载驱动程序时就死机,DOS都过不了,WIN95更不必试了。没关系,那就把CPU核心电压也超上去试试吧。由于这款磐英主板上没有2.3V~2.7V之间的跳线设定,只好硬着头皮把电压直接跳到2.8V,听网上的哥们说那是K6-2所能承受的极限了。糟了,果然不行,开机连显示都没有了,这片K6-2显然对电压比效敏感。走到这一步看来是没办法了。
难道真的只能在350MHz底下跑?不!为了超频的“崇高”理想,怎能被这点小小困难难倒,还是先看看别人的经验再说。在《电脑报》上找到一篇文章,讲述如何在TXproⅡ主板上得到K6-2所需的2.2V电压。虽然主板牌子不同,但因为电压设定同是单跳线的结构(也就是通过短接同一组跳线中的相邻两根来得到不同的电压),所以应该有参考价值。据该文章的作者所述,单跳线设定电压的的电路结构大致如图1所示:

图1
从该电路可以看出,这是一个分压电路,分压值的大小取决于和电阻R0并联的电阻的大小。在不同的位置插上跳线也就等于取不同阻值的电阻和R0并联。对磐英EP-58MVP3C-M来说,电阻R1-5的阻值越大,内核电压越小,最小值不会低于2V(不插跳线)。弄懂了原理,事情就好办了,只要在2.8V跳线上串一个适当的电阻,不就可得到比2.8V更低,但又比2.2V高的电压了?为了得到适当的核心电压,有必要用万用表进行测量,据资料,Socket 7插座上B2(Vcc2)和A3(Vss)之间的电压就是CPU的核心电压,如图2。

图2
但要注意的是,因为CPU的核心电压(Vcore)必须要在CPU插上插座后来测量,所以不能直接在插座上测量,为此,在调试时,我找来一片能承受3.2V电压的旧CPU插上,例如老的K6-233(别忘了把工作频率回调到200MHz或233MHz),开机进入BIOS,在CHIPSET FEATURES SETUP上即可检测到当前的Vcore,Vio等电压。
好了,开始动手,先关机,拔掉电源,找来一个3.3K电阻,把它焊在印制板10(电子元件商店有卖)上,如图3。

图3
也可以把两个跳线连在一起,电阻就插在外侧两个孔上,如图4。

图4
把它插到JP2的2.8V跳针上,一测量,哈哈,不偏不倚,正好2.40V,前途一片光明。换上K6-2,调到400MHz(100×4),进DOS没问题,进WIN95也没问题,运行3Dmark99通过。《原罪》玩了一个小时也没事,但在运行《极品飞车3》时会出现内存出错信息而跳出游戏,WIN95本身也偶而出现非法操作,但不频繁。无论如何,看来还得施加压力,卸掉3.3K电阻,又找来一只2K电阻串上,嗯,2.49V,很好嘛!烤机两日,运行所有软件都很稳定,一切OK,目标达到了,最后把机壳盖上。有磐英EP-58MVP3C-M主板的朋友,若想获得2.3~2.7V的Vcore,不妨一试。因为要直接对主机板进行操作,所以切记要小心谨慎,没把握还是别弄,否则烧了主板或CPU就不好啦。另有一点要注意的是,由于350MHz以上的K6-2和WIN95、WIN97之间存在配合问题,所以在启动或运行期间可能会产生IO或是PROTECT一类的错误报告,这可不是超频的后遗症哦!要修复这个问题,一是干脆升级到WIN98,二是安装一个叫amdK6upd的补丁,具体可到AMD(www.amd.com)或微软的网站看看。有疑问的话,可通过E-mail(jimmyxu@netease.com)与我联系。^_^
(广东 Jimmy Xu)本文出自:《电脑报》1999年04月19日第15期